Document
Permetti download anche all'utente anonimo
Off
Request info

Technical Info

  • Suitable for domestic, industrial, pneumatic and hydraulic installations
  • Performs well in any orientation
  • Strong configuration suitable to most difficult applications
  • Brass stem for outstanding performance
  • Lowest pressure drop
  • Hot forged CW617N brass body
  • NBR 65 SH/PS seal assembled with stainless steel holder
     
  • ISO 228 parallel female by female threads
     
  • Cracking pressure: min 0.025 bar
  • Sealing pressure: min 0.05 bar       
  • See non-shock cold working pressure on chart
  • -20°C to +100°C (-4°F to +212°F)
  • WARNING: freezing of the fluid in the installation may severely damage the valve
  • Strainer in Polymer and Stainless steel 1.4301 (AISI 304)
    * NPT female by female threads ANSI B.1.20.1 in sizes 1/2” to 4”
  • The product described in this document meets the requirements of PED Directive 2014/68/UE and according to art.4 par.3, it does not require CE marking; it cannot be used with dangerous gases in sizes larger than 20mm; it cannot be used with non-dangerous gases in sizes larger than 40mm
     
  • EAC – Declaration of conformity (Russia, Kazakhstan, Belarus)
  • Attestation de Conformité Sanitaire (France) in sizes 1/4” to 2”
  • RoHS Compliant (EU)

NOTE: approvals apply to specific configurations/sizes only.

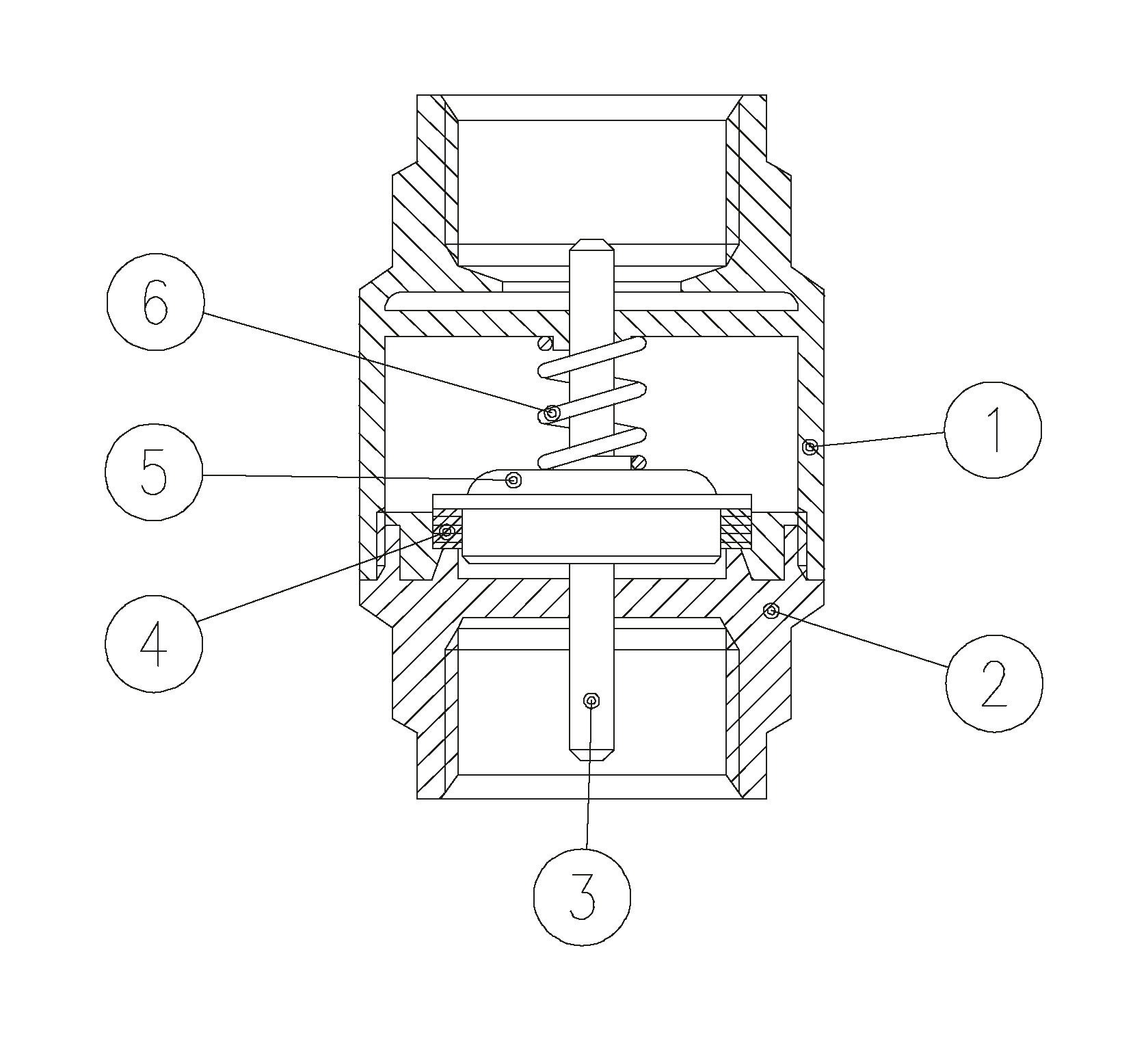
Part description Quantity Part Material
Body
1
CW617N
End-cap
1
CW617N
Stem
1
CW614N
Seat
1
NBR
Seat holder
1
1.4301 / AISI 304
Stainless steel spring
1
1.4325 / AISI 302
Pressure-temperature chart
Pressure drop chart

Technical material

Document
Permetti download anche all'utente anonimo
Off

Ask for additional information on the whole range of RuB products and consult with your supplier for special applications.

XCE122
-
5466

To view all available technical material
Register as a client