The s.7241 series has a ball seal at every port, and offers a wide variety of possible flow configurations. Positive shutoff can be achieved at any of the exiting ports.
By specifying the appropriate ball port configuration, the T-port design allows flow direction to be adjusted for virtually any situation and is ideal for mixing applications.

Our s.72 multi-port valves can reduce the number of valves required in piping systems and can significantly lower overall costs by replacing two or three conventional 2-way valves, eliminating excess fittings, saving space and simplifying automation.

Document
Permetti download anche all'utente anonimo
Off
Request info

Technical Info

  • Electronic 100% seal test guaranteed
  • No metal-to-metal moving parts
  • No maintenance ever required
  • Silicone-free lubricant on all seals
  • Chrome plated brass ball for longer life
  • Each valve is seal tested for maximum safety
  • Performs well in any orientation
  • Strong configuration
  • 100% full port for maximum flow
  • Hot forged sand blasted, unplated brass body and cap sealed with Loctite® or equivalent thread sealant
  • Integrated ISO 5211 and DIN 3337 mounting flange for universal connection to actuator
  • Finest brass according to EN 12165 and EN 12164 specifications
  • 3-way L- port design for flow mixing
  • Integrated sturdy ISO 5211 flange allows direct mounting of  actuators. See RuB line of electric and pneumatic actuators.
  • Blowout-proof nickel plated brass stem
  • Maintenance- free, double FPM O-rings at the stem for maximum safety
  • Stem slot shows ball position
  • 300 PSI non-shock cold working pressure
  • -4°F to +302°F
  • WARNING: freezing of the fluid in the installation may severely damage the valve
  • Pure PTFE self-lubricating seats with flexible-lip design
  • Four seats design for mixing of various fluids in the system
  • Rack and pinion pneumatic actuator (spring return or double acting)
  • Lockable handle as accessory or already mounted (s.7241L)
  • Various actuator linkage kit
  • NPT taper ANSI B.1.20.1  female threads
  • Custom design
  • Stainless steel stem
  • Configurations with 4 seats & T-port (s.7341) or 2 seats & L-port (s.7641)
  • RoHS Compliant (EU)
  • EAC – Declaration of conformity (Russia, Kazakhstan, Belarus)

  NOTE: approvals apply to specific configurations/sizes only.

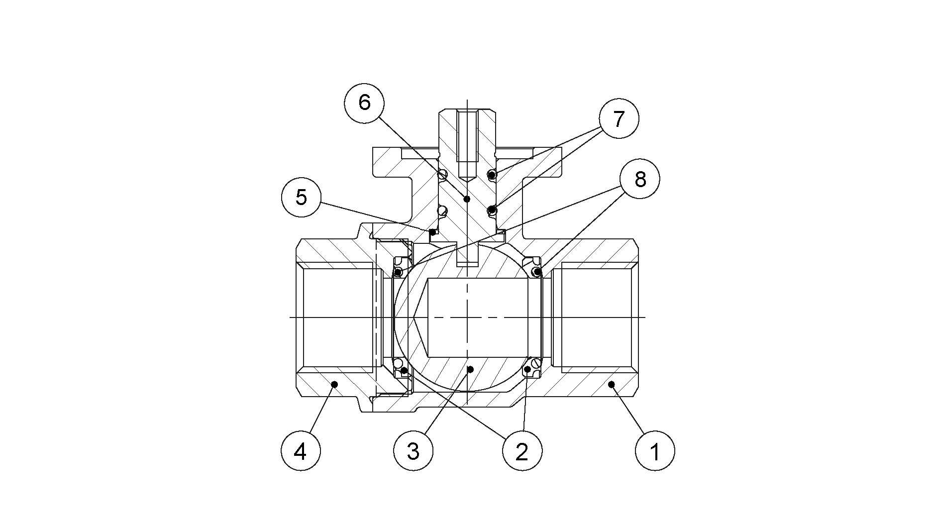
Part description Quantity Part Material
Sand blasted unplated body
1
CW617N
Seat
2
PTFE
Seat
2
PTFE
Chrome plated ball
1
CW617N
Sand blasted unplated end-cap
1
CW617N
Washer
1
PTFE carbon filled 25%
Nickel plated stem O-ring design
1
CW617N
O-Ring
2
FPM
Torque for actuator sizing in-lb
Torque correction factors

Valve torque can vary according to operating frequency, temperature and friction characteristics of the media. If media has more or less friction than water, multiply torque by the following factors.

Lubricating oils or liquids 0.8
Dry gases, natural gas 1.5
Slurries or liquids bearing abrasive particles 1.5÷2.5

 

Technical material

Document
Document
Permetti download anche all'utente anonimo
On
Document
Permetti download anche all'utente anonimo
Off

Ask for additional information on the whole range of RuB products and consult with your supplier for special applications.

XCES7241
-
5813

To view all available technical material
Register as a client